Поэтапные шаги
- Необходимо при помощи мела или портняжного карандаша обозначить место, где будет карман. Обозначается прорез четырьмя линиями, эти линии ограничивают размеры будущего кармана.
- Определяются размеры, которым будут равны прорезные карманы с листочками. Для взрослых в длину карман может быть от 14 до 16 см, а в ширину — от 2 до 5 см.
- Расстояние, которое получается между двумя горизонтальными линиями, — это ширина будущей листочки. Именно по этим линиям притачивается и подзор, и листочка.
- Расстояние между короткими вертикальными линиями — ширина.
- Место кармана с изнаночной стороны необходимо укрепить долевиком.
Закругленный карман-портфель
На бумажной выкройке кармана начертите линию планки вдоль внешнего края кармана и на расстоянии ок. 4 см от него (1). Планку переснимите с детали кармана как отдельную деталь. Карман и планку выкроите из ткани с припусками на швы по всем срезам: карман выкроите один раз, а планку- два раза.
Припуск по верхнему срезу кармана и каждой планки обметать, заутюжить на изнанку и настрочить. Припуск по внешнему срезу одной планки обметать и заутюжить на изнаночную сторону. Планки сложить лицом к лицу и стачайть внутренние срезы. Припуски шва обметать вместе (2).
Планку с необработанным внешним срезом приколите к карману лицом к лицу. Притачайте. Припуски шва срежьте близко к строчке, на участках скруглений надсеките (3). Планку заметайте на изнаночную сторону. Край приутюжьте и отстрочите в край. По желанию край можно отстрочить дополнительно на большем расстоянии, не прихватывая при этом планку с заутюженным внешним краем.
Карман приколоть к изделию и настрочить в край только лежащую снизу планку. По желанию нижнюю планку можно настрочить дополнительно на большем расстоянии. Нижнюю планку настрочить с каждой стороны от верхнего края вдоль внутреннего шва на длину по ок. 3 см. Затем настрочить боковые края кармана от верхнего края на длину по ок. 3 см точно в шов (4).
Карман с втачной листочкой — мастер-класс по обработке
Из всех видов обработки прорезных карманов, карман с втачной листочкой, пожалуй, самый простой. Есть несколько способов обработки прорезного кармана с листочкой, в зависимости от изделия, на котором его располагают. Способ, который мы вам предлагаем в этом мастер-классе, подходит для обработки карманов на изделиях из тонких тканей.
Школа Шитья Анастасии КорфиатиБесплатная подписка на новые материалы
Обработка кармана с втачной листочкой
Укрепите клеевой прокладкой деталь изделия, где будет располагаться карман.

Рис. 1. Дублирование места под карман термотканью
С изнаночной стороны наметить место кармана при помощи мелка или простого карандаша. Длина рамки кармана равна 15-17 см, высота – по ширине листочки (обычно — от 1,5 до 4 см, в зависимости от модели). Ширина рамки, представленной в этом мастер-классе составляет 2 см. Именно такая ширина должна получиться и у листочки.

Рис. 2. Рамка кармана
Из основной ткани выкроить 2 мешковины кармана шириной равно ширине кармана + 3 см (припуски на швы) и длиной около 20 см.
ВАЖНО! Длина одной мешковины должна быть больше другой на 4 см — прибавка на листочку (ширина листочки х 2)

Рис. 3. Мешковины кармана
При помощи булавок перенести контуры кармана на лицевую сторону. Можно также сделать это при помощи наметочных стежков «вперед иголку».

Рис. 4. Перенос рамки на лицевую сторону
Мешковину с прибавкой на листочку наложить лицевой стороной по разметке, приколоть по верхней стороне и приметать.

Рис. 5. Наложить мешковину по разметке
С изнаночной стороны изделия, по всем сторонам рамки проложить машинную строчку — включая короткие стороны рамки.

Рис. 6. Отстрочить рамку кармана по контуру
Рамку перегнуть пополам и сделать надрез.

Рис. 7. Разрезать карман по центру
Затем разрезать рамку по точно центру, не доходя 1 см до короткого края, в уголки наискосок.

Рис. 8. Разрезать карман в уголках — наискосок
Отвернуть мешковину на изнаночную сторону и чисто выметать, проутюжить.

Рис. 9. Проутюжить карман
Мешковину отвернуть вверх.

Рис. 10. Мешковина кармана отогнута вверх
От нижней стороны рамки отмерить вниз 2 см (ширина листочки), перегнуть мешковину по всей длине и проутюжить, заложив складку вверх.

Рис. 11. Заложить листочку кармана
По краям мешковину сколоть. Проложить фиксирующие строчки по обеим сторонам мешковины.

Рис. 12. Сколоть мешковину по коротким сторонам
Для этого отверните мешковину и прострочите по основаниям треугольников.

Рис. 13. Строчки по основаниям треугольничков
Вторую мешковину наложить поверх первой.

Рис. 14. Совместить обе мешковины кармана
Сколоть обе мешковины по припускам.

Рис. 15. Сколоть обе мешковины кармана
Стачать мешковины карманов.

Рис. 16. Стачать обе мешковины кармана
Припуски обметать оверлочным швом.

Рис. 17. Припуски мешковин кармана обработать
Карман с втачной листочкой в готовом виде показан на рис. 18. Для наглядности мы использовали два цвета ткани и контрастные нитки для шитья.

Рис. 18. Карман с втачной листочкой
Прорезной карман в рамке с клапаном
Прорезной карман отличается от накладного видом и технологией пошива. Если накладной карман нашивается (детали кармана накладываются на основную деталь изделия и пристрачиваются), то вход в прорезной карман есть не что иное, как грамотно обработанный разрез, сделанный на основной детали изделия.Посмотрите на этот карман, его мешковина с лицевой стороны невидна, вход в карман имеет вид рамки и закрыт клапаном. Такие карманы, как правило, выполняют в пиджаках и жакетах.
В этой статье подробно рассмотрена технология пошива прорезного кармана в рамке с клапаном для жакета с отрезным бочком, мешковина кармана выполнена из подкладочной ткани, и за счет удлиненной верхней обтачки не видна даже при отвороте клапана.
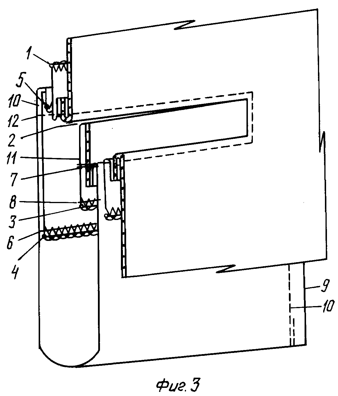
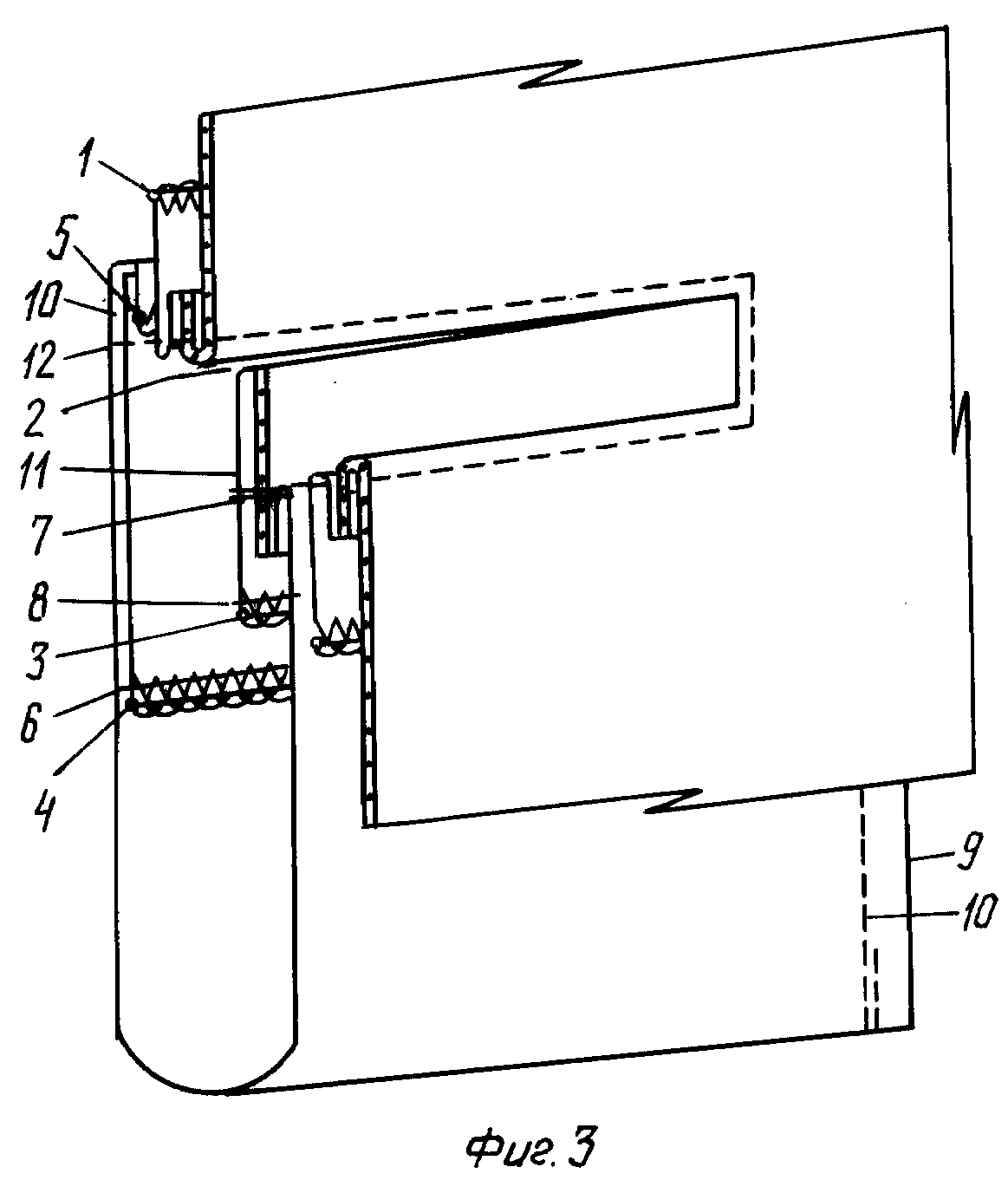
Детали
1 – полочка жакета, детали проклеены флизелином, выполнены рельефный шов и вытачка,
2 – верхняя часть клапана, проклеена флизелином, нижние углы скруглены, размеры детали: 14,5 х 6,7 см, с учетом припусков на швы, в готовом виде ширина клапана 13 см,
3 – нижняя часть клапана, нижние углы скруглены, размеры детали: 14 х 6,5 см, с учетом припусков,
4 – нижняя обтачка, проклеена флизелином, размер: 17 х 4 см,
5 – верхняя обтачка, проклеена флизелином, размер: 17 х 6,5 см,
6,7 – мешковина кармана, нижние углы скруглены, размеры детали: 17 х 14 см, с учетом припусков,
8 – полоска флизелина для дублирования разреза входа в карман, размер: 17 х 3 см.
*стрелками обозначены направления нити основы
Обработка кармана с листочкой
Для каждого вида обработка будет немного отличаться друг от друга, поэтому рассмотрим их по отдельности пошагово.
Вариация с настрочными краями
Для ее установки проводим подготовительные работы, как написано выше. Далее следуем изложенному ниже порядку действий.
- Заготовку планки укладывают открытым краем к линии прорезания кармана.
- Сверху помещают одну деталь внутренней части кармана.
- Прострачивают конструкцию, при этом начинают и заканчивают шов на уровне узких сторон листочки.
- Чуть выше линии разреза пристрачивают вторую внутреннюю часть.
- Разрезать карман.
- Внутреннюю часть заправить наизнанку.
- Соединить внутренние детали кармана.
- Выполнить отстрочку планки и кармана.

Вариация с втачными краями
Предварительный этап проводится тем же способом. Затем выполнить следующие действия.
- Листочку притачать к внутренней части кармана.
- Шов расправить и заутюжить.
- Пришить часть с листочкой и вторую внутреннюю часть по обеим сторонам разметки разреза.
- Выполнить разрезание ткани.
- Вывернуть детали кармана на изнаночную сторону.
- Расправить все элементы и сшить обе части, при этом закрепив концы листочки двойной строчкой.
- Отутюжить конструкцию.

Карман с втачанными концами
Шить прорезной карман с листочкой с втачными концами несложно. Для этого необходимо четко понимать последовательность действий, которые необходимо совершать в строго указанном порядке. Прорезной карман с листочкой шьется в определенной последовательности.
Карманы с листочками наиболее распространены в костюмах, брюках и верхней одежде. В связи с этим особенностью является то, что работать приходится с плотной тканью, сложенной в несколько раз.
Карманы различаются по направлению прорези: бывают наклонные, горизонтальные или вертикальные. По форме самой листочки карманы делятся на фигурные и прямоугольные.
Конструкции листочек также разнообразны — цельновыкроенные или с подкладкой. Расположение карманов может быть любым: боковые карманы или верхние.
Пошив (обработка) кармана с листочкой состоит из нескольких этапов:
- 1 этап: обработка листочки;
- 2 этап: обработка кармана;
- 3 этап: сборка кармана.
Мастер-класс по созданию шоколадницы в технике скрапбукинг
Итак, приступаем! Делаем картонный шаблон для открытки: для этого отмеряем необходимые размеры и получаем вот такой шаблон с кармашком, как указано на фото внизу.

Все необходимые материалы, которые нам необходимы, видим на фотографии.

Складываем наш шаблон, сгибаем все невидимые линии, получаем вот такую заготовку снаружи.

И, соответственно, внутри.
По такому шаблону, прикладывая его к чистому плотному листу ватмана или картона, отмеряем размеры и вырезаем уже непосредственно саму основу нашей шоколадницы. Делаем линии изгиба с помощью линейки и специальной палочки, подробнее видно на фото.

Затем отрезаем два отрезка около 9-10 см атласной ленточки и примерно по центру на верхней и нижней основе двухсторонним скотчем приклеиваем эти отрезки. Более подробнее мы наблюдаем на фото.

Вырезаем верхние заготовки из скрапбумаги на верхнюю, заднюю внутреннюю части шоколадницы, а также на кармашек. Края делаем фигурными с помощью дырокола. После того, как мы склеили клеем ПВА полностью нашу основную заготовку, на двухсторонний скотч приклеиваем все кусочки из скрапбумаги, как изображено на картинке ниже.
Внутри углы кармашка фиксируем двухсторонним скотчем, как показано ниже.

А теперь клеевым пистолетом приклеиваем весь декор по своему вкусу. Сначала приклеиваем скотчем либо клеем ПВА примерно по центру на переднюю часть шоколадницы бумажную салфетку, затем вырубку с поздравительным текстом и в завершении клеим полубусины и бумажные цветочки. Для красоты, на один краешек ленточки можно пришить металлическую подвесочку. Изделие готово, вкладываем в него шоколадку, завязываем красивый бант и подарок готов!
Виды листочки
Такая конструкция служит для обработки края кармана одежды, его усиления и декорирования. Листочка(планка) может быть прямоугольной или фигурной формы. По методу вшивания можно выделить два варианта листочки.
С втачными концами
Этот вид более прост в установке и поэтому лучше подходит для начинающих мастериц. При данном способе все швы остаются с изнаночной стороны. А неширокая планка проходит параллельно нижнему слою.
С настроченными концами
Он чаще всего применяется для верхней одежды. Визуально от первого эта вариация отличается внешними отделочными строчками с нескольких сторон. А также способом их изготовления. Такая планка зачастую имеет достаточную ширину для установки фиксирующего механизма: петли для пуговицы, кнопки и так далее.
Как сделать карман-обманку с листочкой
Иногда при конструировании модели одежды дизайнеры прибегают к очень интересному варианту декора. Это карман-обманка, который не имеет внутренней части и применяется только как украшение.
Процесс выполнения
- Выполнить разметку будущего места расположения. Для этого проведите горизонтальную линию и по ней постройте рамку нужного размера.
- Затем требуется укрепить материал. С изнаночной стороны приутюживаем отрез дублерин или флизелин, который будет выступать за контуры рамки на 1–1,5 см.
- Выполнить элемент листочки.
- Выполнить деталь подзора. Для его изготовления возьмите отрезок ткани, длина которого равняется длине планки, а ширина равняется четырем ширинам рамки.
- Укрепить деталь планки и подзора дублирующим материалом при помощи утюга.
- Обработать края подзора.
- Рисуем по центру рамки линию и укладываем на нее лицевой стороной вниз листочку.
- Приметать планку к основной детали.
- Выполнить соединительный шов.
- Укладываем подзор таким образом, чтобы выше линии пришивания находилось две третьих материала.
- Выполнить разрез.
- Отвернуть наизнанку подзор.
- Прометать линию шва.
- Выполнить наметку подворота планки.
- Отвернуть планку по линии наметки на изнаночную сторону.
- Заутюжить место сгиба.
- Выполнить предварительную наметку контура.
- Выполнить отделочную строчку.
Как пошить своими руками открытый карман в шве: мастер-класс
Открытый карман в шве – идеальное решение для демисезонного пальто. С пошивом изделия по приведенной инструкции справится даже начинающая рукодельница.
Порядок работы.
Чтобы вшить два кармана в пальто необходимо выкроить 4 детали мешковины (по 2 на каждый карман) по выбранной вами выкройке. На изнаночной стороне изделия делаем метки для притачивания мешковины, отмечая начало и конец будущей машинной строчки.
Обметываем прямые срезы мешковин и припусков в области вшивания карманов. Детали мешковин прикалываем с помощью портновских булавок к деталям переда и спинки, совмещая их по нанесенным меткам. Притачиваем внутренние детали карманов к припускам на расстоянии примерно 1 мм от линий швов.
Заутюживаем мешковины карманов. Складываем детали переда и спинки пальто лицевыми сторонами внутрь и стачиваем, не затрагивая вход в карманы, как показывает схема ниже.
Разутюживаем припуски шва. Отворачиваем мешковины кармана вперед и скалываем их портновскими булавками в нескольких местах, тщательно совмещая контуры деталей. Приметываем и прострачиваем мешковины, убираем наметку.
Вдоль края выкройки прокладываем дополнительную машинную строчку. Тщательно отутюживаем изделие. Открытые карманы в швах пальто готовы. Если все сделано верно, карманы на изделии практически незаметны.
С припусками вразутюжку.
Для пошива одежды в лаконичном минималистическом стиле можно использовать способ обработки кармана в шве с припусками вразутюжку. Рассмотрим самый простой вариант исполнения изделия с карманом в подобной технике.
Порядок работы.
Начинаем работу с конструирования кармана. Его форма и глубина зависит исключительно от ваших пожеланий, вход в карман при этом должен составлять не менее 13 см. Места входа в карман на изделии обязательно отмечаем засечками на припусках основных деталей. Для того, чтобы изделие хорошо держало форму, припуски в области кармана обрабатываем флизелином на клеевой основе. Для этого выкраиваем полоски необходимого размера и приутюживаем их в область припусков до приклеивания флизелина.
От входа в карман отступаем 4 см по боковому шву. Строим выкройку и вырезаем детали мешковины, закладывая необходимые припуски.
Детали мешковины и основной ткани складываем лицевыми сторонами внутрь и скрепляем портновскими булавками. Притачиваем мешковины к боковым швам до начала припусков.
На пришитой к передней части изделия мешковине ставим надсечки: делаем надрез ножницами по припуску бокового шва до конечных точек пристрачивания кармана. Надсекаем кончики мешковин ножницами. Складываем детали лицевыми сторонами друг к другу, скрепляем булавками и стачиваем до надсечек. Срезы сшитых мешковин обметываем по всему периметру, причем надрезанные кончики загибаем таким образом, чтобы они попали в обметку. Таким образом можно спрятать все ненужные обрезки ткани и ниток и сделать внутреннюю часть кармана максимально аккуратной.
Боковые срезы изделия обметываем на машинке по отдельности. Скалываем булавками и стачиваем в два приема боковой шов: до места входа в карман и после него. Разутюживаем с паром боковые швы в разные стороны, а карманы заутюживаем на перед. Переворачиваем карман и ставим закрепки в местах ранее надрезанных припусков.
Стильный и совершенно незаметный карман с припусками вразутюжку готов!
Карман на молнии в шве.
Карманы на молнии в простых и рельефных швах очень красиво смотрятся на верхней одежде, в том числе стеганых плащах и жилетах. Сшить такое изделие можно достаточно быстро, несмотря на кажущуюся сложность.
После построения выкройки всех сшиваемых деталей выполняем основной шов, в который будет включен карман, оставив свободным участок необходимой длины для его входа. В заданное место вшиваем молнию в закрытом виде, бегунок должен находиться на лицевой стороне изделия. Края молнии аккуратно прячем с изнаночной стороны. Притачиваем сшитую заранее мешковину кармана из основной ткани и плащевки рядом с молнией.
Обметываем мешковину и припуски. Часть кармана из плащевки пристрачиваем таким образом, чтобы при открытой молнии была видна только основная ткань. К другой части молнии притачиваем мешковину из основной ткани, тщательно совмещая все детали кармана. На краях молнии делаем закрепки. Отутюживаем изделие. Карман в шве на молнии готов!
Корзина для цветов

Первым делом, нужно суметь нарисовать корзину на листке бумаги. Пусть она будет округлая либо с прямоугольными краями. Возьмите коричневую ленту, и начинаем делать тем швом, который нам знаком из текста, все очертание корзины. Закрепляем конец ленты с изнаночной стороны. Если хотите, чтобы вышивка из лент, получилась эффектней, можете комбинировать несколько оттенков коричневого цвета для корзины. Далее, делаем поперечные швы, переплетая их с горизонтальными полосами. Посмотрите на фото, должна образоваться такая же сетка. Такое оригинальное плетение, в дальнейшем, можно использовать в вышивке крыш домов и заборов, а также предметов мебели. Прямыми стежками делаем ручку корзины, в изогнутом виде. Вот и готова первая корзина.
Виды прорезных карманов.
Доброго времени суток, уважаемые читатели блога! Итак, прорезные карманы! Подошло время поговорить и о них.
Прорезные карманы можно встретить на всевозможных видах одежды. На юбках и на брюках, на платьях и на костюмах, на выполненных: из тонкого материала блузе и куртке из грубой, толстой ткани. В общем, куда ни кинь взглядом, обязательно встретишь прорезной карман.
Прорезные карманы не очень разнообразны формами. Овальное, прямоугольное (прорезные карманы «в рамку», прорезные карманы «в щель» и с листочкой), ромбовидное (прорезные карманы с листочкой) вот и всё виды «телосложения», которые могут «позволить себе» прорезные карманы.
Направление входа в прорезной карман для одних видов прорезных карманов (прорезные «в рамку», «в кант», «в щель, с листочкой) может быть любым: вертикальным, горизонтальным и под наклоном к вертикальным или горизонтальным линиям. Для других, например, прорезные карманы с клапаном, размещение их на изделии в вертикальном положении будет неуместным. Словом, всё зависит от вида выполняемого прорезного кармана.
Прорезной карман с клапаном – это классическая обработка карманов многих изделий, от заднего или бокового кармана брюк до карманов пиджака, пальто. Технология изготовления прорезных карманов с клапаном, с листочкой, в рамку и даже на молнии примерно одинаковая. Некоторые отличия обработки таких карманов имеются, но освоить их легко, если научиться правильно, делать прорезной карман в рамку или карман с клапаном с одной обтачкой.
Алмазная 3Д вышивка маков
Невероятно реалистично смотрятся картины выполненные алмазной живописью. Выкладка сюжетов с помощью акриловых страз не требует много времени и сил, в этом ее преимущество перед другими методами вышивания.
Яркие алмазы не тускнеют и не выгораю, благодаря чему объемный сюжет всегда смотрится привлекательно.

Техника настолько проста, что сделать ошибки просто не возможно, поэтому она хорошо подходит для начинающих рукодельниц и детям. Все, что нужно при работе с художественным проектом – это укладывать кристаллики на холст согласно схеме, который имеет липкий слой.
Для мозаичного способа укладки, кристаллики бывают разных форм.

Все зависит от выбранного вами набора. Каждый из которых укомплектован холстом, стразами и пинцетом для их укладки.

Для создания эксклюзивной яркой картины нужно желание и материалы для работы.
Карман листочка
Перед выполнением кармана с листочкой, обязательно укрепляем место входа в карман. В нашем случае всё пальто продублировано клеевой, поэтому дополнительного дублирования не требуется.
Детали кармана с листочкой
Листочка — деталь со сгибом посередине, вдоль длинной стороны. Длина листочки равна длине входа в карман, обычно 17 см, чтобы могла поместиться рука. Ширина листочки обычно 3.5 — 4 см в готовом виде. То есть деталь кроя должна быть в два раза шире. Обязательно по всем четырём сторонам делаем припуски на шов — 1.2-1.5 см. Всю листочку укрепляем клеевой.
Карманка состоит из двух деталей. Одна — из основной ткани, вторая — из подкладочной. Обычно деталь из подкладочной ткани делают чуть большей по размеру, чем из основной ткани.
Шьём карман с листочкойСгибаем листочку вдоль пополам, проутюживаем с паром, даём остыть. Отмеряем точную ширину листочки, рисуем линию. По линии прокладываем машинную строчку.
На полочке пальто размечаем местоположение листочки (без припусков на швы — рисуем точный размер листочки). Длина — равна длине листочки, ширина — ширине листочки в готовом виде.
Накладываем листочку и карманку, как показано на фото, на размеченный контур, пристрачиваем по линиям разметки. В конце и в начале строчки обязательно ставим закрепки.
Точно в шов притачивания листочки, пристрачиваем карманку из подкладочной ткани. В конце и в начале строчки ставим закрепки. Закрепки на карманке совпадают с закрепками на листочке. Если у вас достаточно опыта, карманку и листочку можно пристрочить одним швом.
По изнаночной стороне разрезаем ткань между строчками, как показано на фото
Надрез в уголках делаем, не доходя 1 мм до нитей строчки! Важно! Разрезаем только ткань полочки, не повредите при разрезании строчку, листочку и карманку!. Выворачиваем карман, скрепляем детали карманки между собой булавками
Выворачиваем карман, скрепляем детали карманки между собой булавками.
Пришиваем уголки, которые получились при разрезании рамки кармана.
Вид с изнаночной стороны.
Карман с листочкой готов.
Статья подготовлена специально для сайта Сезон в рамках конкурса Мой роман с Сезоном. Благодарим Ice cream за участие в конкурсе и фотоматериалы.
Как сделать карман с листочкой
При пошиве кармана с листочкой следует выполнить несколько этапов.
Изготовление листочки
Первым делом изготавливается сама деталь.
- Для этого из ткани вырезается прямоугольная заготовка. Обычно ее размеры равняются 20Х10 см.
- Перегибаем пополам деталь изнаночной стороной кверху.

Выворачиваем на лицо и хорошенько утюжим.
Внутренняя часть
Далее готовим внутреннюю часть кармана. Для этого из дополнительного материала выполняем две заготовки. Для выкройки прикладываем к листу бумаги руку и обводим границу ладони.

Разметка
Затем размечаем место расположения кармана.
- На лицевой стороне портняжным мелом отмечаем, где будет находиться данная деталь.
- Измеряем длину готовой планки.
- Чертим отрезок по размеру планки.
Затем приступам к процессу монтажа конструкции. Рассмотрим подробно, как это происходит.
Виды листочки
Такая конструкция служит для обработки края кармана одежды, его усиления и декорирования. Листочка(планка) может быть прямоугольной или фигурной формы. По методу вшивания можно выделить два варианта листочки.
С втачными концами
Этот вид более прост в установке и поэтому лучше подходит для начинающих мастериц. При данном способе все швы остаются с изнаночной стороны. А неширокая планка проходит параллельно нижнему слою.

С настроченными концами
Он чаще всего применяется для верхней одежды. Визуально от первого эта вариация отличается внешними отделочными строчками с нескольких сторон. А также способом их изготовления. Такая планка зачастую имеет достаточную ширину для установки фиксирующего механизма: петли для пуговицы, кнопки и так далее.

Мастер-класс по созданию кармана для женской юбки
На примере создания кармана для женской юбки рассмотрим, как сшить карман прорезной в рамку:
- В первую очередь копируется прямоугольник будущего размещения прорезного кармана на изнаночную сторону ткани. После этого рисуется горизонтальная линия в середине проема и добавляются линии клипов.
- Вырезается карман нужных размеров. Для женщин можно использовать следующие размеры: ширина – 11 см, высота – 18,5 см. Девочкам подойдут: ширина – 14 см, высота – 28,5.
- Копируется верхняя линия проема. Для этого продеваются две булавки в верхнюю линию прямоугольника, потом поворачивается ткань и соединяются обе стороны для того, чтобы скопировать эту линию. Рисуется параллельная линия на 3,5 см выше первой.
- Для определения середины прорезного кармана можно опять использовать тот же прием. Вставляется булавка в изнаночную сторону ткани. Разворачивается и копируется эта же линия на лицевую сторону ткани.
- К правой стороне ткани крепится карман.
- Пришиваются две горизонтальные линии к нарисованному прямоугольнику. Обе линии должны быть одинаковой длины. Начало и окончание шитья производится в одном и том же горизонтальном положении.
- С помощью этих линий делается прямоугольное отверстие. При выполнении этой операции нужно быть предельно точным, так как от этого зависит внешний вид будущего кармана.
- Вырезаются линии, нарисованные ранее, так, чтобы получился прямоугольный проем.
- Через отверстие вытягивается карман по направлению к спине.
- Необходимо нажать. В результате должен получиться прямоугольник правильной формы.
- Далее отрезается 2 мм верхнего и нижнего края новых краев, которые не были обработаны. Это позволит компенсировать толщину ткани при создании кармана.
- Верхняя часть скроенной ткани и карман складываются вниз. Потом снова загибается вверх. Край ткани должен располагаться посередине на расстоянии 7,5 мм от края.
- Необходимо повторить такой же порядок действий и для нижней части.
- Прострачивается вокруг кармана на расстоянии 2 мм от прямоугольного отверстия.
- Нужно перевернуть ткань и сложить клапан вдвое, чтоб получился карман. Боковые и верхние края закрываются при помощи прострочки на ширине прижимной лапки.
- Карман готов.
Обработка кармана с листочкой
Для каждого вида обработка будет немного отличаться друг от друга, поэтому рассмотрим их по отдельности пошагово.
Вариация с настрочными краями
Для ее установки проводим подготовительные работы, как написано выше. Далее следуем изложенному ниже порядку действий.
- Заготовку планки укладывают открытым краем к линии прорезания кармана.
- Сверху помещают одну деталь внутренней части кармана.
- Прострачивают конструкцию, при этом начинают и заканчивают шов на уровне узких сторон листочки.
- Чуть выше линии разреза пристрачивают вторую внутреннюю часть.
- Разрезать карман.
- Внутреннюю часть заправить наизнанку.
- Соединить внутренние детали кармана.
- Выполнить отстрочку планки и кармана.

Вариация с втачными краями
Предварительный этап проводится тем же способом. Затем выполнить следующие действия.
- Листочку притачать к внутренней части кармана.
- Шов расправить и заутюжить.
- Пришить часть с листочкой и вторую внутреннюю часть по обеим сторонам разметки разреза.
- Выполнить разрезание ткани.
- Вывернуть детали кармана на изнаночную сторону.
- Расправить все элементы и сшить обе части, при этом закрепив концы листочки двойной строчкой.
- Отутюжить конструкцию.

Виды листочки
Такая конструкция служит для обработки края кармана одежды, его усиления и декорирования. Листочка(планка) может быть прямоугольной или фигурной формы. По методу вшивания можно выделить два варианта листочки.
С втачными концами
Этот вид более прост в установке и поэтому лучше подходит для начинающих мастериц. При данном способе все швы остаются с изнаночной стороны. А неширокая планка проходит параллельно нижнему слою.

С настроченными концами
Он чаще всего применяется для верхней одежды. Визуально от первого эта вариация отличается внешними отделочными строчками с нескольких сторон. А также способом их изготовления. Такая планка зачастую имеет достаточную ширину для установки фиксирующего механизма: петли для пуговицы, кнопки и так далее.

Как вшить молнию в куртку?
На левую деталь переда укладываем лицом к лицу молнию, пластрон и подборт (предварительно соединив его с обтачкой низа). Одной строчкой соединяем все эти детали. Хочу особенно остановиться на этом месте. Очень легко это написать в двух предложениях. Но очень нелегко это делается. Я сшила уже кучу курток, и до сих пор дрожу, когда доходит дело до молнии. А это потому, что требует большой внимательности и кропотливости, пока укладываешь эти детали друг на друга. Мне лень прошивать-наметывать, так как это время лишнее, но может именно поэтому я и мучаюсь.
Второй момент. От низа куртки надо отступить 1 см и наложить молнию. И когда вы вывернете на лицевую сторону, молния не будет выпирать снизу.
А вообще-то надо просто приспособиться. Я желаю вам, чтоб получилось с первого раза, как надо! Тяжело, зато как красиво потом!
На правой стороне переда молнию пришиваем таким же образом. Следим, чтоб при закрытии молнии совпадали линии выстегивания на куртке и ровная линия низа. При необходимости корректируем.

























































